Produk
BURNER BALTUR BTL 10 BB SOLAR SATU TAHAP 60,2 – 118,0 kW
-
BURNER BALTUR BTL 10 BB SOLAR SATU TAHAP 60,2 – 118,0 kW
Burner Baltur BTL 10 Adalah Mesin Pembakar minyak ringan/ Solar Manufactur Italia dengan Operasi satu tahap dengan kapasitas Thermal 60,2 – 118,0 kW. untuk Menyetel kepala pembakaran sebagai Perawatan burner dipermudah dengan kemungkinan melepas unit ataupun bisa tanpa harus melepas pembakar dari boiler.
Flensa kopling boiler geser untuk menyesuaikan pipa peledak dengan berbagai jenis boiler, Intake udara pembakaran dengan katup kupu-kupu. Pengaturan aliran udara secara manual. dan Peredam udara yang menutup sepenuhnya saat dimatikan untuk mencegah kehilangan panas melalui cerobong asap. Sirkuit pasokan bahan bakar terbuat dari pompa roda gigi dengan pengaturan tekanan dan katup penutup, Preheater minyak ringan dengan kapasitas variabel. dan untuk Deteksi api oleh fototransistor . Peringkat perlindungan listrik IP40 dan Penutup pelindung plastik kedap suara.
SEPESIFIKASI BURNER BALTUR BTL 10
- MODEL : BTL 10
- Laju aliran (min/maks) : 5,10 kg/jam / 10,00 kg/jam
- Daya pemanas (min/maks) : 60,2 kW / 118,0 kW
- Viskositas bahan bakar maks. : 1,5 E (pada 20°C)
- Catu daya : 1 ~ 230V ± 10% – 50Hz
- Motor : 0,10 kW
- Preheater : —
- Transformer : 40 mA – 15 kV
- Konsumsi daya : 0,150 kW
- Berat : 12 kg
- Operasi : ON / OFF
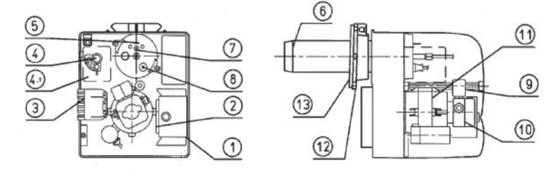
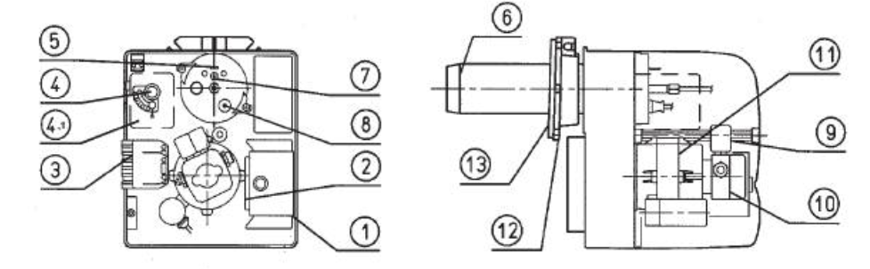
DESKRIPSI BURNER
1) Peralatan 2) Transformator 3) Konektor 7-pin 4) Sekrup penyetelan peredam udara 5) Referensi pengaturan kepala cakram 6) Kepala pembakaran 7) Sekrup penyetelan kepala cakram 8) Fotoresistor 9) Katup solenoid 10) Pompa bahan bakar 11) Motor 12) Flensa sambungan pembakar 13) Gasket isolasi
FITUR UTAMA
- pembakar minyak ringan. Operasi satu tahap.
- Pengaturan udara pembakaran dan kepala pembakaran.
- Penyesuaian laju aliran udara secara manual.
- Flensa kopling generator tetap.
- Penutup pelindung terbuat dari bahan plastik kedap suara.
- Rangkaian pasokan bahan bakar yang terdiri dari pompa dengan pengaturan tekanan dan katup penutup.
- Kontrol keberadaan api dengan fotoresistor.
- Sistem kelistrikan IP40.
AKSESORIS PEMBAKAR
Filter saluran, selang fleksibel, nosel, kit kopling boiler, steker untuk pemasangan kabelCATATAN
1 Dilengkapi dengan perangkat penutup udara.
2 Dilengkapi dengan pre-heater oli ringan dengan perangkat drop-stop.
5 Biodiesel secondo normativa europea EN14213-KETENARAN.N. B.
1) Kit konversi, untuk pembakar standar, oleh penginstal.
Untuk pasokan produk dalam versi long head, silakan hubungi sales departemen.
Nilai kalor bersih minyak ringan: Hi = 42,70 MJ / kg = 10200 kkal / kg.Jika Anda tertarik dengan salah satu produk kami, atau memerlukan informasi lebih lanjut, silakan hubungi staf penjualan kami sekarang untuk katalog terperinci kami.
Hubungi Kami
CV. RATMAN BEJO
- Gudang : Blk. D19 Jl. Utama Raya Perum Permata Sepatan No.21, Pisangan Jaya, Kec. Sepatan, Kabupaten Tangerang, Banten 15520
- Whatsapp : 0895 3287 02165
- Mobile : 0821 1185 1623
-
Be the first to review “BURNER BALTUR BTL 10 BB SOLAR SATU TAHAP 60,2 – 118,0 kW”








Reviews
There are no reviews yet.